Skip to main content

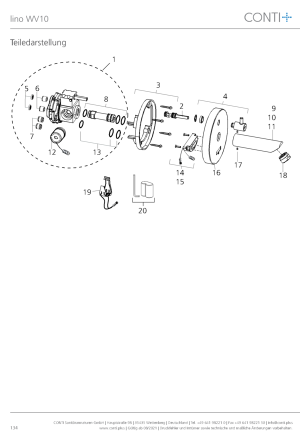
CONTI+ Rotary slide for CONTI+ lino WV10 CONZ8139745

Rotary slide WV

Want to see
more products?

 

Back to overview

Learn more about
our References

 

References

Do you have Questions?
Contact us

 

Contact